为适应城市发展和管理要求,方便群众生活和社会交往,经市政府第34次常务会议研究,决定对城区新增道路进行命名并调整部分道路起止点。现通告如下:
一、新增道路命名
南北向1条:
绍兴路:位于苏州路与杭州路之间,潴河东岸,南起上海路北50米处的苏州路西侧(与苏州路交接),右弧形向北穿过北京东路,规划建设至309国道,长3500米,宽12米,沥青路面。
二、调整部分道路起止点
(一)南北向1条
1.长广路
原起止点为:南起龙口西路北止上海西路(西政字[2004]73号);现调整为:南起龙口西路北止309国道。
(二)东西向2条
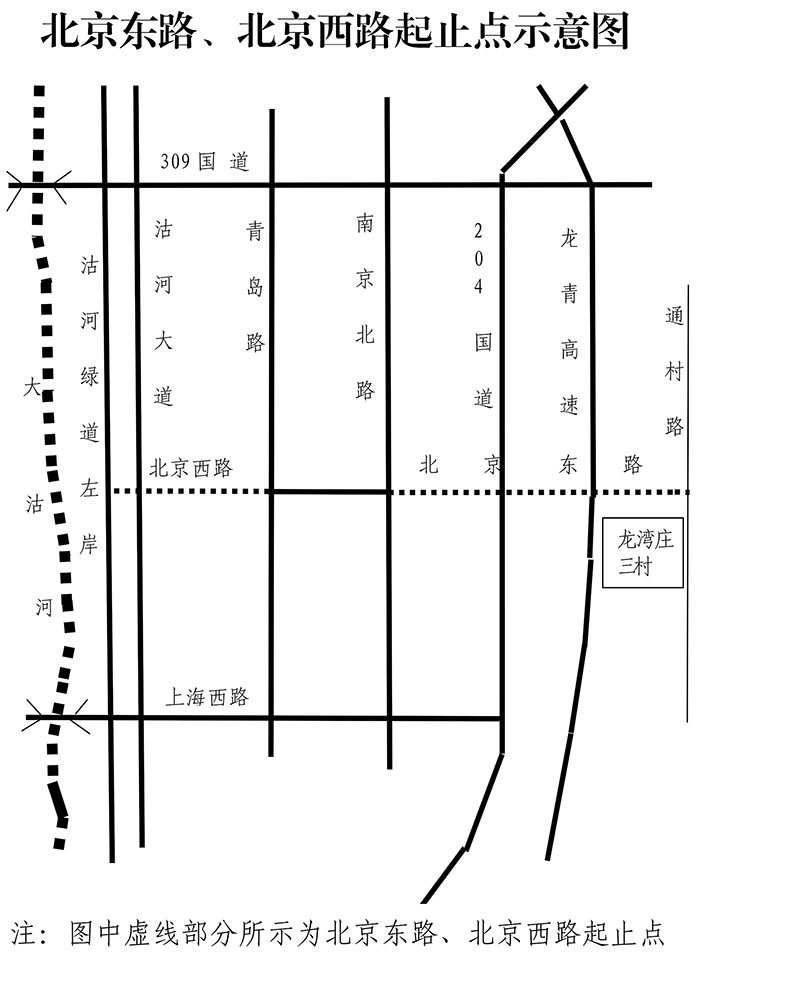
1.北京东路
原起止点为:东起烟青一级公路西至南京北路(西政字[2001]25号);现调整为:西起南京北路东至龙湾庄三村东通村路。
2.北京西路
原起止点为:西起深圳北路东止青岛路(西政字[2001]25号);现调整为:东起青岛路西止沽河绿道左岸。
莱西市人民政府
